- LG 식기세척기의 트루스팀에 대해 조금 더
- 트루스팀에 대한 간략한 설명
- 트루스팀, 히팅, 건조 구조 파악
LG 식기세척기의 트루스팀에 대해 조금 더
아무리 찾아봐도 그냥 순수 물을 ~99도로 끓여 만든 수증기로 여러 효과를 본다는 말인 것 같다.
그래서 조금 더 구조나 어떤식으로 작동하는지를 보고자 특허 사이트에서 공개된 구조 등을 보고 구조/히팅/건조 관련 내용을 정리해봅니다. :)
트루스팀에 대한 간략한 설명
트루스팀 (화학처리 없는 순수한 물만으로 진짜 스팀을 만들어 바이러스가 살 수 없는 환경을 만들어)
살균, 탈취, 세척(손설거지 보다 26% 우수)
100℃ 트루 스팀은 제품 하단에 있는 히터에서 만들어집니다. 여기서 만들어진 스팀이 아래쪽 하단, 상단 스프링클러 쪽, 도어 쪽에서 분사됩니다. 식기에 눌어붙은 음식물과 유해 세균을 불려서 깔끔하게 제거하고, ‘화이트 스팟’이라고 부르는 물방울 자국까지 씻어냅니다.
트루스팀, 히팅, 건조 구조 파악
http://kpat.kipris.or.kr/kpat/searchLogina.do?next=MainSearch#page1 --> 특허 사이트, 검색 참고

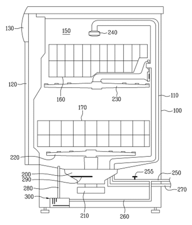
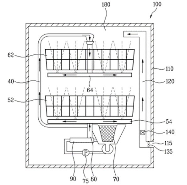
세탁조의 벽면? 터브(110)
세탁수를 저장(저수)하여 가열(290=히터)하는 서프(200)
스팀발생장치(300) 스팀 가벼우니 주로 하단에 위치, 250급수에서 바로 빠져나오는 물을 사용 (서프, 세탁수를 거치지 않아)

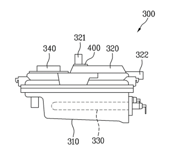
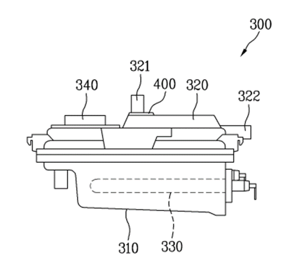
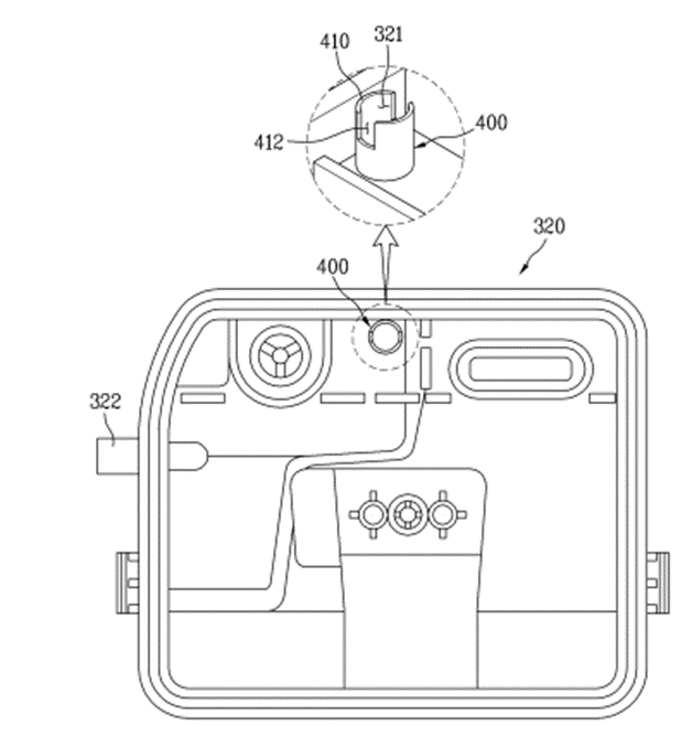
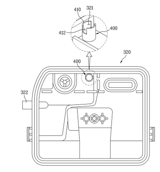
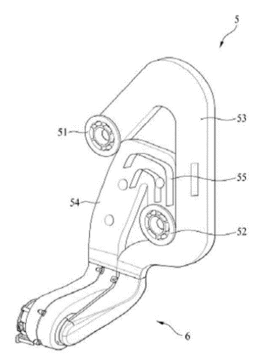
300번 스팀발생장치를 자세히
310 통, 330 히터, 340 수위센서 (저수위: 과열방지, 고수위: 넘침방지), 320 뚜껑?커버, 322 공급구, 321 스팀배출구, 400 스팀안내부(발생한 스팀이 321로 가며 소음발생, 이를 줄이기 위한 구조)


가열, 히터, 건조시키기
가열된 세척수를 분사하면 그릇도 어느정도 가열되고 가열된 식기의 잔열을 사용해 남아있는 물기 제거한다.
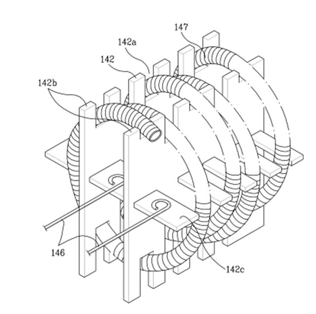
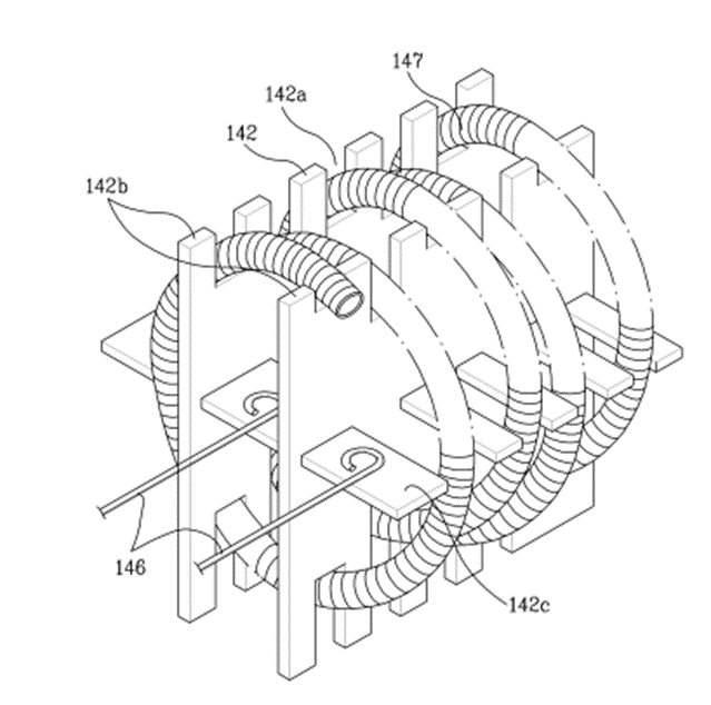
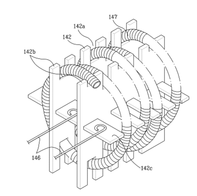
--> 잔열만으론 건조효율이 떨어지고 오래걸리기에 캐비닛 내부에 별도의 히터 장착, 가열된 공기를 추가적으로 건조에 투입 (히터코일을 히터케이스에 감고, 그 케이스 안쪽으로 공기를 투입)
하지만, 코일에 인접한 공기만 따듯, 가운덴 덜 따듯하고 내부에 균일한 온도의 공기 공급이 어려워 + 코일이 서로 인접하게 붙어 있어 서로 파손위험(쉽게 과열, 히터 전원 차단) --> 그렇기에 서로 다른 높이차로 감는 구조



51로 들어와 6에서 히팅되고 52로 나가 (55 다수개의 리브는 유동을 도와)
마치며
스팀은 정말 99-100도로 순수 물을 끓여 쏘아주는 것인데,
다만 스팀발생기의 소음을 줄이기 위한 구조, 분사 노즐과 분사 암의 유동에 도움이 되는 구조, 건조를 위해 기체를 히팅하는 구조 등에서 차이를 주지 않았을까 생각된다.
'제품 구성, 원리' 카테고리의 다른 글
| Heat pipe 원리, 특징, 파라미터, 구간분류, 사용 주의사항 (0) | 2022.02.02 |
|---|---|
| 식기세척기 연수장치 원리 & 구조 (0) | 2022.01.09 |
| 식기세척기 작동원리 & 작동순서 & 주요 기능들 (2) | 2022.01.06 |
| 냉매의 환경적인 조건 (ODP, GWP) (0) | 2022.01.05 |
| [냉매] 냉장고, 에어컨에 사용되는 냉매의 선택 (1) | 2022.01.04 |
댓글