- 연수장치가 필요한 이유
- 연수장치의 원리
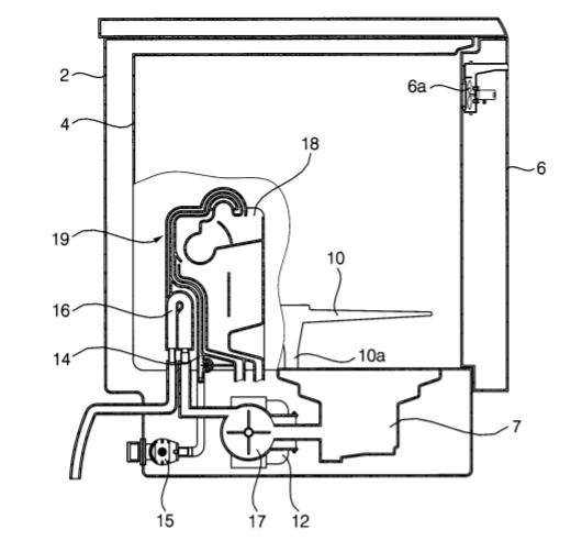
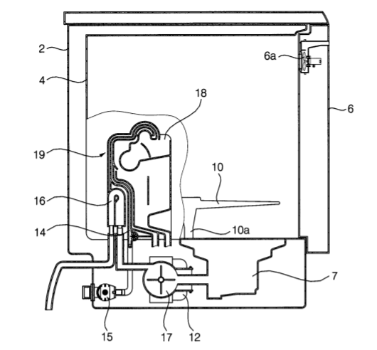
- LG 디오스 연수장치의 구조
연수장치가 필요한 이유

물속에는 칼슘, 마그네슘과 같은 미네랄이 들어 있는데(마실 때는 이러한 미네랄 성분이 도움되지만), 이 석회성분이 남게 되면 물 얼룩(하얀 얼룩)이 발생할 수 있습니다.
연수장치를 사용하면,
물속의 석회성분이 연수장치의 이온 교환 장치를 통해 걸러져지고 + 세제가 잘 풀리게 되어 세척 능력도 상승합니다.
그렇게 식기에 하얀 얼룩이 남지 않게 해줍니다. (잔여 세제로 알기도 하지만, 물 속의 석회성분 때문에 생기는 얼룩)

연수장치의 원리
미네날 성분을 이온 교환 장치로 거르면 = 연수 장치로 경도를 낮춘 물을 사용해 식기에 남는 흰 얼룩을 줄이고 세제가 잘 풀려서 세척 효과가 높아진다.

이온 교환 장치(필터)에서 미네랄 성분을 머금고, 일정량 이상이 되면 필터링 기능이 저하된다. 이를 위해 연수장치에 소금물이 들어있어, 소금물을 흘려줌으로써 이온필터를 기존의 상태로 복원시켜준다.

(양)이온교환수지의 이온선택성 Ca2+ > Mg+,2+ > Na+

미네랄성분의 선택성 Cl- > (R-SO3)-

+ 경도가 낮은 물 = 미네랄 성분이 적은 물이다
+ 경수 = 미네랄(Ca2+, Fe3+, Pb2+, Mg+,2+)이 많은 수분 / 연수 = 미네랄이 제거된 물
+ 식기세척용 소금이 따로 있다.
+ 물 얼룩 방지 전용 린스가 있다 (= 물 얼룩 제거, 건조 성능 향상)
간단히,
<경도 - 연수> 경수가 - 이온교환장치(필터)를 지나고 - 연수가 되어 사용되는데
<이온교환필터 복원> 미네랄성분의 이온이 너무 많이 부착된 이온교환필터는 재 기능을 하지 못하게 되니 - 이를 감지하고 - 소금물을 - 이온경화장치(필터)로 흘려주어 - 이온경화장치에서 미네랄성분을 가져간다.
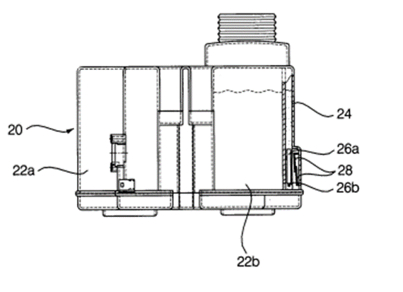
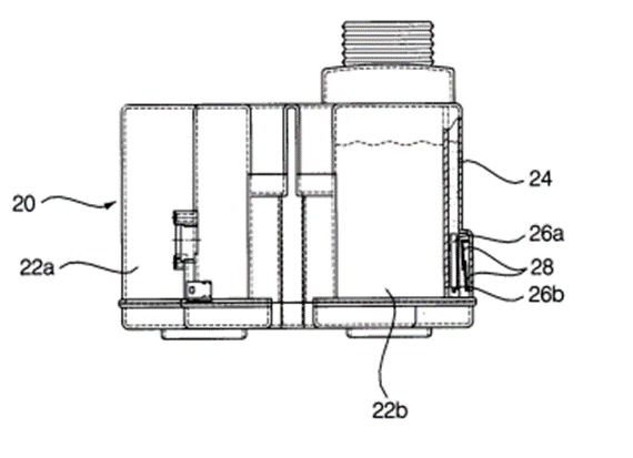
LG 디오스 연수장치의 구조
연수장치의 구조를 정리하자면,
식기세척기의 연수장치는 세척수로부터 중금속 및 금속성 이온 성분이 흡착/제거되는 이온 교환수지가 내장되는 필터통과, 상기 이온 교환수지를 재생시켜주는 일정 농도 이상의 소금물을 생성하도록 소금이 저장되는 소금통이 있다.
http://kpat.kipris.or.kr/kpat/searchLogina.do?next=MainSearch#page1 << 특허 검색 사이트



22a: 필터통: 세척수로부터 중금속 및 금속성 이온 성분이 흡착/제거되는 이온 교환수지가 내장되는 필터통
22b: 소금통: 이온교환수지를 재생시켜주는 일정 농도 이상의 소금물을 생성하도록 소금이 저장되는 소금통
14: 급수유로(밸브로 조절해 – 물 흐름을 컨트롤 해 연수장치에 소금물 공급)
10%의 소금물을 만들어 필터통으로 공급, 이온교환수지 재생
(물의 흐름: 14 -> 저장 -> 밸브 열고 -> 소금통 -> 필터통)
>> 연수필터의 이온수지가 낮아지면 (활동가능한 이온양이 줄어들면, 소금물통과 연결된 밸브가 열리며 소금물이 공급되며 이온수지가 재생된다
마치며
식기세척 사용 관련 팁들은 아래에 잘 나와있습니다 :)
식기세척기 인사이드 | LiVE LG - LG전자 소셜 매거진
ISAC_test<script>alert(3)</script>
live.lge.co.kr
'제품 구성, 원리' 카테고리의 다른 글
| Thermosyphon, heat pipe parameters, 실험 계산 (0) | 2022.02.03 |
|---|---|
| Heat pipe 원리, 특징, 파라미터, 구간분류, 사용 주의사항 (0) | 2022.02.02 |
| 식기세척기의 구조, 히팅/건조 작동원리 (0) | 2022.01.07 |
| 식기세척기 작동원리 & 작동순서 & 주요 기능들 (2) | 2022.01.06 |
| 냉매의 환경적인 조건 (ODP, GWP) (0) | 2022.01.05 |
댓글